試壓泵的功能是把動力機(如電動機和內燃機等)的機械能轉換成液體的壓力能。
工作原理:凸輪由電動機帶動旋轉。當凸輪推動柱塞向上運動時,柱塞和缸體形成的密封體積減小,油液從密封體積中擠出,經單向閥排到需要的地方去。 當凸輪旋轉至曲線的下降部位時,彈簧迫使柱塞向下,形成一定真空度,油箱中的油液在大氣壓力的作用下進入密封容積。凸輪使柱塞不斷地升降,密封容積周期性地減小和增大,泵就不斷吸油和排油。
功能:試壓泵是專供各類壓力容器、管道、鍋爐、鋼瓶、閥門、壓力容器、消防器材作實驗室和水壓試驗中獲得高壓液體的理想設備。試壓泵產品及配套試壓、試驗工程,已應用在航空領域的試壓試驗,并且在國防科研重點開發項目中應用。為我國重大的科研項目地下如:高壓爆破試驗、深海試驗、空間技術、高溫高壓試驗、異形管試驗等,并做出了重大貢獻。

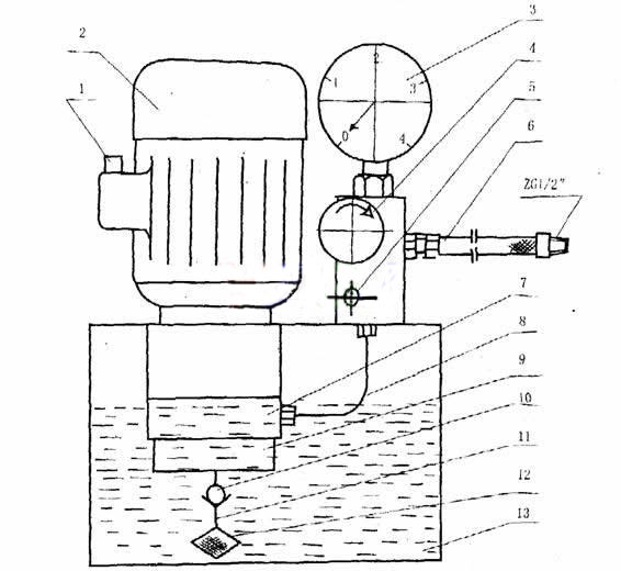
1、電機開關 2、電機 3、壓力表 4、壓力開關 5、高壓卸荷 6、出水軟管
7、泵體 8、紫銅管 9、吸水開關 10、吸水單向閥 11、吸水管 12、濾網 13、水箱