產品簡介
HQJ不銹鋼多級深井潛水電泵 用途范圍本系統適用于清潔水、軟化水的循環和增壓。本系列采用304不銹鋼制成,在輸送含有少量的氯化物的冷水時,耐腐蝕性較好。亦適用于微堿水、脫礦物質水、316不銹鋼和氟橡膠制成的泵適用于腐蝕性較強的液體。
工作條件:
- 不含固體顆粒或纖維的稀薄清潔的非腐蝕性液體
- 液體溫度:最高+35℃
- 最大工作壓力:30巴
- pH值:6.5~8.5
- 最大潛入深度不超過50米
選型范圍
供水、灌溉系統 降低地下水位 增壓 各種工業用途
| 泵型號 |
配用功率 |
Q (m3/h) |
0.2 |
0.4 |
0.6 |
0.8 |
1.0 |
1.2 |
1.4 |
1.6 |
1.8 |
2.0 |
| HQJ1-6 |
0.37 |
H (m) |
33.5 |
33 |
32 |
31 |
30 |
29 |
27 |
25 |
22 |
19 |
| HQJ1-9 |
0.37 |
51 |
50 |
49 |
48 |
46 |
44 |
41 |
38 |
34 |
29 |
| HQJ1-13 |
0.55 |
73 |
72 |
71 |
69 |
67 |
64 |
60 |
55 |
49 |
42 |
| HQJ1-17 |
0.75 |
96 |
95 |
92 |
90 |
87 |
84 |
78 |
71 |
64 |
55 |
| HQJ1-21 |
1.1 |
119 |
118 |
115 |
112 |
108 |
103 |
97 |
89 |
80 |
69 |
| HQJ1-25 |
1.1 |
141 |
140 |
137 |
134 |
129 |
123 |
116 |
106 |
95 |
82 |
| HQJ1-28 |
1.5 |
158 |
157 |
153 |
150 |
145 |
138 |
130 |
119 |
107 |
92 |
| HQJ1-32 |
1.5 |
180 |
179 |
175 |
171 |
165 |
158 |
148 |
136 |
122 |
105 |
| HQJ1-36 |
1.5 |
203 |
202 |
197 |
192 |
186 |
178 |
167 |
153 |
137 |
118 |
| HQJ1-39 |
2.2 |
221 |
219 |
214 |
209 |
202 |
193 |
181 |
166 |
149 |
128 |
| HQJ1-42 |
2.2 |
238 |
236 |
230 |
225 |
217 |
208 |
195 |
179 |
160 |
137 |
| HQJ1-46 |
2.2 |
260 |
258 |
252 |
246 |
238 |
227 |
213 |
196 |
176 |
151 |
| HQJ1-50 |
2.2 |
284 |
282 |
276 |
269 |
260 |
248 |
233 |
214 |
192 |
165 |
| 泵型號 |
配用功率 |
Q (m?/h) |
0.8 |
1.2 |
1.6 |
2.0 |
2.4 |
2.8 |
3.0 |
3.2 |
3.6 |
4.0 |
| HQJ3-6 |
0.37 |
H (m) |
36 |
34 |
32 |
30 |
28 |
26 |
24 |
23 |
18 |
13 |
| HQJ3-9 |
0.55 |
53 |
51 |
48 |
45 |
42 |
38 |
36 |
33 |
27 |
20 |
| HQJ3-12 |
0.75 |
70 |
68 |
64 |
61 |
57 |
52 |
49 |
44 |
37 |
27 |
| HQJ3-15 |
1.1 |
87 |
85 |
81 |
77 |
72 |
65 |
61 |
56 |
47 |
34 |
| HQJ3-18 |
1.1 |
105 |
103 |
97 |
92 |
87 |
78 |
74 |
68 |
57 |
42 |
| HQJ3-22 |
1.5 |
130 |
126 |
120 |
113 |
106 |
96 |
91 |
84 |
70 |
53 |
| HQJ3-27 |
2.2 |
159 |
154 |
146 |
138 |
130 |
118 |
111 |
104 |
87 |
66 |
| HQJ3-32 |
2.2 |
189 |
183 |
173 |
163 |
154 |
140 |
131 |
122 |
102 |
79 |
| HQJ3-38 |
3.0 |
224 |
217 |
205 |
194 |
183 |
168 |
157 |
146 |
122 |
94 |
| HQJ3-43 |
3.0 |
254 |
246 |
233 |
220 |
207 |
190 |
178 |
166 |
139 |
107 |
| 泵型號 |
配用功率 |
Q (m?/h) |
1.0 |
2.0 |
3.0 |
3.5 |
4.0 |
4.5 |
5.0 |
5.5 |
6.0 |
6.5 |
| HQJ5-4 |
0.37 |
H (m) |
21 |
20.5 |
20 |
19 |
18 |
17 |
15 |
13 |
10 |
8 |
| HQJ5-6 |
0.55 |
32 |
31 |
30 |
28 |
27 |
25 |
22 |
19 |
15 |
11 |
| HQJ5-8 |
0.75 |
43 |
42 |
40 |
38 |
36 |
33 |
30 |
25 |
20 |
15 |
| HQJ5-12 |
1.1 |
66 |
63 |
59 |
57 |
54 |
50 |
45 |
38 |
30 |
23 |
| HQJ5-17 |
1.5 |
95 |
91 |
84 |
80 |
76 |
71 |
64 |
54 |
43 |
32 |
| HQJ5-21 |
2.2 |
117 |
112 |
104 |
99 |
94 |
87 |
79 |
67 |
53 |
39 |
| HQJ5-25 |
2.2 |
139 |
134 |
124 |
118 |
112 |
104 |
94 |
80 |
64 |
47 |
| HQJ5-29 |
3.0 |
161 |
155 |
144 |
137 |
130 |
120 |
108 |
92 |
74 |
55 |
| HQJ5-33 |
3.0 |
183 |
177 |
163 |
156 |
148 |
137 |
123 |
105 |
84 |
62 |
| HQJ5-38 |
4.0 |
211 |
203 |
188 |
178 |
170 |
158 |
142 |
121 |
97 |
71 |
| HQJ5-43 |
4.0 |
239 |
230 |
213 |
203 |
193 |
179 |
161 |
137 |
109 |
81 |
| 泵型號 |
配用功率 |
Q (m?/h) |
2 |
3 |
4 |
5 |
6 |
7 |
8 |
9 |
10 |
11 |
| HQJ8-5 |
0.75 |
H (m) |
27 |
26 |
24 |
23 |
22 |
21 |
19 |
17 |
14 |
10 |
| HQJ8-7 |
1.1 |
38 |
36 |
34 |
33 |
31 |
29 |
27 |
24 |
20 |
14 |
| HQJ8-10 |
1.5 |
54 |
52 |
50 |
47 |
45 |
42 |
39 |
35 |
29 |
21 |
| HQJ8-12 |
2.2 |
65 |
62 |
60 |
57 |
54 |
51 |
47 |
42 |
35 |
26 |
| HQJ8-15 |
2.2 |
81 |
77 |
74 |
71 |
68 |
64 |
59 |
53 |
44 |
33 |
| HQJ8-18 |
3.0 |
95 |
93 |
89 |
86 |
81 |
77 |
71 |
63 |
53 |
40 |
| HQJ8-21 |
4.0 |
112 |
108 |
104 |
100 |
95 |
90 |
83 |
74 |
62 |
47 |
| HQJ8-25 |
4.0 |
135 |
129 |
124 |
119 |
113 |
108 |
99 |
89 |
74 |
56 |
| HQJ8-30 |
5.5 |
162 |
155 |
149 |
143 |
136 |
130 |
119 |
106 |
88 |
67 |
| HQJ8-37 |
5.5 |
201 |
191 |
184 |
176 |
167 |
159 |
147 |
131 |
109 |
82 |
| HQJ8-44 |
7.5 |
242 |
227 |
218 |
209 |
199 |
190 |
174 |
156 |
129 |
98 |
| HQJ8-50 |
7.5 |
272 |
258 |
248 |
238 |
226 |
216 |
198 |
177 |
147 |
111 |
| 泵型號 |
配用功率 |
Q (m?/h) |
3 |
4 |
6 |
8 |
10 |
12 |
14 |
16 |
18 |
| HQJ12-5 |
1.5 |
H (m) |
34 |
33 |
31 |
29 |
27 |
25 |
22 |
18 |
13 |
| HQJ12-7 |
2.2 |
48 |
46 |
43 |
40 |
38 |
35 |
31 |
25 |
19 |
| HQJ12-10 |
3.0 |
67 |
65 |
62 |
58 |
55 |
50 |
45 |
36 |
27 |
| HQJ12-13 |
4.0 |
88 |
86 |
81 |
76 |
71 |
66 |
59 |
48 |
36 |
| HQJ12-15 |
5.5 |
99 |
97 |
93 |
88 |
82 |
76 |
68 |
55 |
41 |
| HQJ12-18 |
5.5 |
120 |
118 |
112 |
105 |
99 |
91 |
81 |
66 |
50 |
| HQJ12-21 |
7.5 |
138 |
136 |
130 |
123 |
115 |
106 |
95 |
77 |
58 |
| HQJ12-25 |
7.5 |
166 |
163 |
155 |
146 |
137 |
126 |
113 |
92 |
69 |
| 泵型號 |
配用功率 |
Q (m?/h) |
4 |
6 |
8 |
10 |
12 |
14 |
17 |
20 |
22 |
| HQJ17-1 |
0.55 |
H (m) |
10.5 |
10 |
9.5 |
9 |
8.5 |
8 |
6.5 |
5 |
4 |
| HQJ17-2 |
1.1 |
20.5 |
20 |
19.5 |
19 |
18 |
16 |
13.5 |
10.5 |
8 |
| HQJ17-3 |
2.2 |
31 |
30 |
29.5 |
28.5 |
27 |
24.5 |
20.5 |
16 |
13 |
| HQJ17-4 |
2.2 |
41 |
40 |
39.5 |
38 |
36.5 |
33.5 |
28 |
22 |
18 |
| HQJ17-5 |
3.0 |
52 |
51 |
50 |
48 |
45 |
42 |
35 |
28 |
23 |
| HQJ17-6 |
4.0 |
62 |
61 |
60 |
58 |
55 |
51 |
42 |
34 |
27 |
| HQJ17-7 |
4.0 |
73 |
71 |
70 |
67 |
64 |
59 |
49 |
40 |
31 |
| HQJ17-8 |
5.5 |
83 |
81 |
80 |
77 |
73 |
67 |
57 |
45 |
36 |
| HQJ17-9 |
5.5 |
93 |
91 |
90 |
87 |
82 |
76 |
64 |
52 |
40 |
| HQJ17-10 |
5.5 |
103 |
101 |
100 |
97 |
91 |
85 |
72 |
58 |
45 |
| HQJ17-11 |
7.5 |
113 |
111 |
109 |
106 |
100 |
94 |
79 |
64 |
50 |
| HQJ17-12 |
7.5 |
123 |
121 |
119 |
115 |
109 |
102 |
87 |
70 |
55 |
| HQJ17-13 |
7.5 |
133 |
131 |
129 |
125 |
118 |
111 |
95 |
75 |
60 |
| HQJ17-14 |
9.2 |
143 |
141 |
139 |
134 |
128 |
119 |
102 |
81 |
65 |
| HQJ17-15 |
9.2 |
153 |
151 |
148 |
144 |
137 |
128 |
109 |
87 |
70 |
| HQJ17-16 |
9.2 |
163 |
161 |
158 |
154 |
146 |
136 |
116 |
92 |
75 |
| HQJ17-17 |
9.2 |
173 |
171 |
167 |
163 |
155 |
145 |
123 |
98 |
79 |
| HQJ17-18 |
11 |
184 |
181 |
177 |
173 |
164 |
154 |
130 |
104 |
84 |
| HQJ17-19 |
11 |
194 |
191 |
187 |
182 |
174 |
162 |
138 |
110 |
89 |
| HQJ17-20 |
11 |
204 |
201 |
197 |
192 |
184 |
171 |
145 |
116 |
94 |
| HQJ17-21 |
13 |
214 |
211 |
207 |
202 |
193 |
180 |
152 |
121 |
99 |
| HQJ17-22 |
13 |
224 |
221 |
217 |
211 |
202 |
188 |
160 |
127 |
104 |
| HQJ17-23 |
13 |
235 |
231 |
227 |
221 |
211 |
198 |
167 |
133 |
109 |
| HQJ17-24 |
13 |
245 |
241 |
236 |
230 |
220 |
205 |
174 |
139 |
113 |
| HQJ17-25 |
15 |
255 |
251 |
246 |
240 |
229 |
213 |
181 |
145 |
118 |
| HQJ17-26 |
15 |
265 |
261 |
256 |
250 |
238 |
222 |
189 |
150 |
122 |
| 泵型號 |
配用功率 |
Q(m?/h) |
5 |
8 |
12 |
16 |
20 |
24 |
28 |
30 |
32 |
36 |
38 |
| HQJ30-1 |
1.1 |
H (m) |
11.5 |
11 |
10.5 |
10 |
9.5 |
9 |
8 |
7.5 |
7 |
5.5 |
4.5 |
| HQJ30-2 |
2.2 |
22.5 |
22 |
21 |
20 |
19 |
17.5 |
16 |
15 |
14 |
10.5 |
9 |
| HQJ30-3 |
3.0 |
33.5 |
33 |
32 |
30 |
28 |
26 |
24 |
22 |
20 |
16 |
14 |
| HQJ30-4 |
4.0 |
44.5 |
44 |
42 |
40 |
37 |
35 |
32 |
29 |
27 |
21 |
18 |
| HQJ30-5 |
5.5 |
55.5 |
55 |
53 |
50 |
47 |
44 |
40 |
37 |
34 |
27 |
23 |
| HQJ30-6 |
5.5 |
67 |
66 |
63 |
60 |
56 |
52 |
48 |
44 |
41 |
32 |
27 |
| HQJ30-7 |
7.5 |
77 |
76 |
74 |
70 |
65 |
61 |
55 |
52 |
48 |
37 |
32 |
| HQJ30-8 |
7.5 |
89 |
87 |
84 |
80 |
75 |
70 |
63 |
59 |
54 |
43 |
36 |
| HQJ30-9 |
9.2 |
101 |
98 |
95 |
90 |
84 |
78 |
71 |
66 |
61 |
48 |
41 |
| HQJ30-10 |
9.2 |
112 |
109 |
105 |
100 |
93 |
87 |
79 |
74 |
68 |
53 |
45 |
| HQJ30-11 |
9.2 |
123 |
120 |
116 |
110 |
103 |
96 |
87 |
81 |
75 |
59 |
50 |
| HQJ30-12 |
11 |
134 |
131 |
126 |
120 |
112 |
105 |
95 |
88 |
82 |
64 |
54 |
| HQJ30-13 |
11 |
145 |
142 |
137 |
129 |
121 |
113 |
103 |
96 |
88 |
69 |
59 |
| HQJ30-14 |
13 |
157 |
153 |
147 |
139 |
130 |
122 |
111 |
103 |
95 |
74 |
63 |
| HQJ30-15 |
13 |
168 |
164 |
158 |
149 |
140 |
131 |
119 |
110 |
102 |
80 |
68 |
| HQJ30-16 |
15 |
180 |
175 |
168 |
159 |
149 |
140 |
127 |
118 |
109 |
85 |
72 |
| HQJ30-17 |
15 |
190 |
186 |
179 |
169 |
158 |
148 |
135 |
125 |
116 |
90 |
77 |
| HQJ30-18 |
18.5 |
201 |
197 |
189 |
179 |
168 |
157 |
143 |
132 |
122 |
96 |
81 |
| HQJ30-19 |
18.5 |
212 |
207 |
200 |
189 |
177 |
166 |
150 |
140 |
129 |
101 |
86 |
| HQJ30-20 |
18.5 |
223 |
218 |
210 |
199 |
186 |
174 |
158 |
147 |
136 |
106 |
90 |
| HQJ30-21 |
18.5 |
235 |
229 |
221 |
209 |
196 |
183 |
166 |
155 |
143 |
112 |
95 |
| HQJ30-22 |
22 |
246 |
240 |
231 |
219 |
205 |
192 |
174 |
162 |
150 |
117 |
99 |
| HQJ30-23 |
22 |
258 |
251 |
242 |
229 |
214 |
201 |
182 |
169 |
156 |
122 |
104 |
| HQJ30-24 |
22 |
269 |
262 |
252 |
239 |
224 |
209 |
190 |
177 |
163 |
128 |
108 |
| HQJ30-25 |
22 |
281 |
273 |
263 |
249 |
233 |
218 |
198 |
184 |
170 |
133 |
113 |
| 泵型號 |
配用功率 |
Q (m?/h) |
5 |
10 |
20 |
30 |
40 |
42 |
50 |
60 |
| HQJ42-1 |
2.2 |
H (m) |
13 |
12.5 |
12 |
10.5 |
9 |
8.5 |
7 |
4 |
| HQJ42-2 |
3.0 |
26 |
25.5 |
34 |
21.5 |
18.5 |
17 |
14.5 |
8.5 |
| HQJ42-3 |
5.5 |
40 |
38.5 |
36 |
32.5 |
28 |
26.5 |
22 |
13 |
| HQJ42-4 |
7.5 |
53 |
52 |
49 |
43 |
37 |
36 |
29 |
18 |
| HQJ42-5 |
7.5 |
66 |
65 |
61 |
54 |
47 |
45 |
38 |
23 |
| HQJ42-6 |
9.2 |
79 |
78 |
74 |
66 |
57 |
54 |
45 |
28 |
| HQJ42-7 |
11 |
92 |
91 |
86 |
77 |
66 |
63 |
52 |
32 |
| HQJ42-8 |
13 |
105 |
104 |
98 |
87 |
75 |
72 |
58 |
36 |
| HQJ42-9 |
15 |
118 |
117 |
110 |
97 |
84 |
80 |
65 |
40 |
| HQJ42-10 |
15 |
132 |
130 |
122 |
108 |
93 |
89 |
72 |
45 |
| HQJ42-11 |
18.5 |
144 |
142 |
134 |
119 |
103 |
98 |
79 |
49 |
| HQJ42-12 |
18.5 |
157 |
155 |
146 |
130 |
112 |
107 |
87 |
54 |
| HQJ42-13 |
22 |
170 |
168 |
158 |
141 |
122 |
116 |
94 |
58 |
| HQJ42-14 |
22 |
183 |
181 |
170 |
152 |
131 |
125 |
102 |
63 |
| HQJ42-15 |
22 |
196 |
194 |
182 |
163 |
140 |
134 |
109 |
67 |
| HQJ42-16 |
25 |
209 |
207 |
194 |
174 |
150 |
143 |
116 |
72 |
| HQJ42-17 |
25 |
222 |
220 |
206 |
184 |
159 |
152 |
123 |
77 |
| HQJ42-18 |
30 |
235 |
233 |
218 |
195 |
168 |
161 |
131 |
81 |
| HQJ42-19 |
30 |
248 |
246 |
231 |
206 |
178 |
170 |
138 |
86 |
| HQJ42-20 |
30 |
261 |
259 |
243 |
217 |
187 |
179 |
145 |
90 |
| HQJ42-21 |
37 |
274 |
271 |
255 |
228 |
196 |
188 |
152 |
95 |
| HQJ42-22 |
37 |
287 |
283 |
267 |
238 |
205 |
197 |
160 |
99 |
| 泵型號 |
配用功率 |
Q (m3/h) |
10 |
20 |
30 |
40 |
50 |
60 |
70 |
75 |
| HQJ60-1 |
2.2 |
H (m) |
12.5 |
12 |
10.5 |
8.5 |
7 |
6 |
4 |
- |
| HQJ60-2-2 |
3.0 |
21 |
20 |
18 |
15.5 |
13 |
10.5 |
6.5 |
4 |
| HQJ60-2 |
4.0 |
26 |
24.5 |
22 |
19 |
16.5 |
12.5 |
9 |
6 |
| HQJ60-3 |
5.5 |
40 |
37 |
34 |
29 |
25 |
20 |
14 |
10 |
| HQJ60-4 |
7.5 |
54 |
51 |
46 |
40 |
35 |
29 |
21 |
17 |
| HQJ60-5 |
9.2 |
68 |
65 |
59 |
51 |
45 |
37 |
28 |
21 |
| HQJ60-6 |
11 |
82 |
79 |
72 |
62 |
54 |
45 |
34 |
26 |
| HQJ60-7 |
13 |
96 |
92 |
84 |
73 |
63 |
53 |
39 |
30 |
| HQJ60-8-2 |
13 |
103 |
99 |
89 |
78 |
67 |
56 |
41 |
31 |
| HQJ60-8 |
15 |
110 |
105 |
96 |
84 |
73 |
61 |
45 |
35 |
| HQJ60-9-2 |
15 |
117 |
112 |
102 |
89 |
77 |
64 |
47 |
36 |
| HQJ60-9 |
18.5 |
124 |
121 |
110 |
96 |
85 |
69 |
52 |
40 |
| HQJ60-10 |
18.5 |
137 |
132 |
121 |
106 |
93 |
77 |
58 |
45 |
| HQJ60-11 |
22 |
152 |
145 |
133 |
117 |
102 |
85 |
64 |
50 |
| HQJ60-12 |
22 |
165 |
158 |
145 |
127 |
110 |
93 |
70 |
54 |
| HQJ60-13 |
22 |
181 |
172 |
157 |
139 |
120 |
100 |
75 |
59 |
| HQJ60-14 |
25 |
194 |
185 |
168 |
148 |
128 |
106 |
80 |
63 |
| HQJ60-15 |
25 |
207 |
198 |
180 |
159 |
138 |
114 |
85 |
68 |
| HQJ60-16 |
30 |
222 |
212 |
192 |
170 |
147 |
122 |
91 |
72 |
| HQJ60-17 |
30 |
235 |
224 |
204 |
181 |
157 |
130 |
98 |
77 |
| HQJ60-18 |
30 |
251 |
240 |
219 |
194 |
168 |
140 |
105 |
84 |
| HQJ60-19 |
37 |
264 |
253 |
231 |
204 |
178 |
148 |
112 |
89 |
| HQJ60-20 |
37 |
277 |
265 |
242 |
214 |
186 |
155 |
118 |
94 |
| HQJ60-21 |
37 |
291 |
278 |
255 |
226 |
196 |
163 |
123 |
98 |
| 泵型號 |
配用功率 |
Q (m3/h) |
30 |
40 |
50 |
60 |
70 |
75 |
80 |
90 |
100 |
| HQJ75-1 |
4 |
H (m) |
18 |
17 |
15.5 |
14.5 |
13 |
12 |
11 |
9 |
5.5 |
| HQJ75-2 |
7.5 |
36.5 |
34.5 |
32 |
30 |
27 |
25 |
23 |
19 |
12.5 |
| HQJ75-3 |
11 |
54.5 |
52.5 |
49 |
45 |
41 |
38 |
35.5 |
29 |
21.5 |
| HQJ75-4 |
15 |
73.5 |
71 |
66.5 |
61 |
55.5 |
52 |
48 |
40 |
30 |
| HQJ75-5 |
18.5 |
92 |
89 |
83 |
76 |
70 |
65 |
60.5 |
51 |
38 |
| HQJ75-6 |
22 |
111 |
107 |
100 |
91 |
84 |
79 |
73 |
62 |
47 |
| HQJ75-7 |
30 |
130 |
125 |
118 |
107 |
98 |
93 |
87 |
73 |
56 |
| HQJ75-8 |
30 |
148 |
143 |
135 |
124 |
113 |
107 |
101 |
85 |
65 |
| HQJ75-9 |
37 |
167 |
161 |
152 |
140 |
128 |
121 |
114 |
96 |
74 |
| HQJ75-10 |
37 |
185 |
178 |
169 |
157 |
143 |
135 |
127 |
107 |
83 |
| HQJ75-11 |
45 |
203 |
196 |
185 |
172 |
158 |
148 |
139 |
118 |
92 |
| HQJ75-12 |
45 |
222 |
214 |
202 |
188 |
172 |
162 |
152 |
129 |
100 |
| HQJ75-13 |
55 |
241 |
232 |
220 |
204 |
186 |
175 |
164 |
139 |
108 |
| HQJ75-14 |
55 |
262 |
251 |
238 |
220 |
200 |
188 |
176 |
149 |
116 |
| HQJ75-15 |
55 |
283 |
271 |
256 |
236 |
214 |
201 |
188 |
159 |
124 |
| HQJ75-16 |
63 |
303 |
291 |
274 |
253 |
229 |
215 |
202 |
169 |
133 |
| HQJ75-17 |
63 |
323 |
310 |
292 |
270 |
245 |
229 |
215 |
179 |
142 |
| HQJ75-18 |
75 |
342 |
329 |
309 |
286 |
259 |
243 |
228 |
190 |
150 |
| HQJ75-19 |
75 |
361 |
347 |
327 |
302 |
274 |
257 |
241 |
201 |
158 |
| HQJ75-20 |
75 |
381 |
366 |
345 |
318 |
288 |
271 |
254 |
212 |
167 |
| 泵型號 |
配用功率 |
Q (m3/h) |
40 |
50 |
60 |
70 |
80 |
90 |
95 |
100 |
110 |
120 |
| HQJ95-1 |
4 |
H (m) |
17.5 |
16.5 |
15.5 |
14 |
12.5 |
10.5 |
9.5 |
8 |
5 |
- |
| HQJ95-2 |
9.2 |
36 |
34 |
32 |
28.5 |
26 |
21.5 |
20 |
17 |
12 |
3.5 |
| HQJ95-3 |
13 |
54 |
52 |
48.5 |
44.5 |
40 |
33 |
30 |
26 |
19 |
6 |
| HQJ95-4 |
18.5 |
72 |
70 |
65 |
60 |
54 |
45 |
41 |
36 |
25.5 |
10.5 |
| HQJ95-5 |
22 |
91 |
87 |
81.5 |
75 |
68 |
57 |
51.5 |
46 |
32 |
14.5 |
| HQJ95-6 |
25 |
110 |
104 |
98 |
90 |
81 |
69 |
62 |
55 |
38 |
18 |
| HQJ95-7 |
30 |
129 |
122 |
115 |
105 |
94 |
81 |
73 |
65 |
45 |
22 |
| HQJ95-8 |
37 |
148 |
141 |
131 |
120 |
108 |
93 |
84 |
75 |
52 |
26 |
| HQJ95-9 |
37 |
167 |
159 |
148 |
135 |
122 |
105 |
95 |
85 |
59 |
31 |
| HQJ95-10 |
45 |
186 |
177 |
165 |
151 |
136 |
117 |
106 |
95 |
67 |
36 |
| HQJ95-11 |
45 |
205 |
195 |
182 |
167 |
150 |
130 |
117 |
105 |
75 |
42 |
| HQJ95-12 |
55 |
224 |
213 |
199 |
183 |
165 |
143 |
129 |
116 |
84 |
48 |
| HQJ95-13 |
55 |
243 |
231 |
216 |
199 |
180 |
156 |
141 |
127 |
93 |
53 |
| HQJ95-14 |
55 |
262 |
249 |
233 |
215 |
195 |
169 |
153 |
138 |
102 |
59 |
| HQJ95-15 |
63 |
281 |
268 |
250 |
231 |
210 |
183 |
166 |
149 |
111 |
64 |
| HQJ95-16 |
63 |
301 |
286 |
267 |
247 |
225 |
197 |
178 |
160 |
119 |
70 |
| HQJ95-17 |
75 |
321 |
304 |
284 |
263 |
240 |
210 |
190 |
171 |
127 |
75 |
| HQJ95-18 |
75 |
342 |
323 |
302 |
279 |
255 |
222 |
202 |
182 |
135 |
81 |
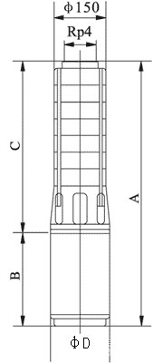
安裝尺寸本數據僅供參考,請以實際訂貨為準!
|
HQJ1系列外形尺寸:
 |
| 泵型號 |
尺寸(mm)重星(kg) |
重星 (kg) |
| A |
B |
C |
| HQJ1-6 |
667 |
370 |
297 |
12 |
| HQJ1-9 |
730 |
370 |
360 |
13 |
| HQJ1-13 |
824 |
380 |
444 |
15 |
| HQJ1-17 |
928 |
400 |
528 |
17 |
| HQJ1-21 |
1052 |
440 |
612 |
19 |
| HQJ1-25 |
1136 |
440 |
696 |
20 |
| HQJ1-28 |
1229 |
470 |
759 |
23 |
| HQJ1-32 |
1313 |
470 |
843 |
24 |
| HQJ1-36 |
1397 |
470 |
927 |
25 |
| HQJ1-39 |
1500 |
510 |
990 |
29 |
| HQJ1-42 |
1563 |
510 |
1053 |
30 |
| HQJ1-46 |
1647 |
510 |
1137 |
31 |
| HQJ1-50 |
1731 |
510 |
1221 |
32 |
|
|
HQJ3系列外形尺寸:
 |
| 泵型號 |
尺寸(mm) |
重量 (kg) |
| A |
B |
C |
| HQJ3-6 |
667 |
370 |
297 |
12 |
| HQJ3-9 |
740 |
380 |
360 |
13 |
| HQJ3-12 |
823 |
400 |
423 |
16 |
| HQJ3-15 |
926 |
440 |
486 |
18 |
| HQJ3-18 |
999 |
440 |
549 |
19 |
| HQJ3-22 |
1103 |
470 |
633 |
22 |
| HQJ3-27 |
1248 |
510 |
738 |
27 |
| HQJ3-32 |
1353 |
510 |
843 |
28 |
| HQJ3-38 |
1589 |
620 |
969 |
31 |
| HQJ3-43 |
1694 |
620 |
1074 |
32 |
|
|
HQJ5系列外形尺寸:
 |
| 泵型號 |
尺寸(mm) |
重量 (kg) |
| A |
B |
C |
| HQJ5-4 |
625 |
370 |
255 |
12 |
| HQJ5-6 |
677 |
380 |
297 |
13 |
| HQJ5-8 |
739 |
400 |
339 |
15 |
| HQJ5-12 |
863 |
440 |
423 |
17 |
| HQJ5-17 |
998 |
470 |
528 |
21 |
| HQJ5-21 |
1122 |
510 |
612 |
26 |
| HQJ5-25 |
1206 |
510 |
696 |
27 |
| HQJ5-29 |
1400 |
620 |
780 |
29 |
| HQJ5-33 |
1484 |
620 |
864 |
30 |
| HQJ5-38 |
1719 |
750 |
969 |
33 |
| HQJ5-43 |
1824 |
750 |
1074 |
35 |
|
|
HQJ8系列外形尺寸:
 |
| 泵型號 |
尺寸(mm) |
重量 (kg) |
| A |
B |
C |
| HQJ8-5 |
853 |
400 |
453 |
16 |
| HQJ8-7 |
977 |
440 |
537 |
19 |
| HQJ8-10 |
1133 |
470 |
663 |
22 |
| HQJ8-12 |
1257 |
510 |
747 |
27 |
| HQJ8-15 |
1383 |
510 |
873 |
29 |
| HQJ8-18 |
1619 |
620 |
999 |
32 |
| HQJ8-21 |
1875 |
750 |
1125 |
35 |
| HQJ8-25 |
2043 |
750 |
1293 |
37 |
| HQJ8-30 |
2343 |
840 |
1503 |
43 |
| HQJ8-37 |
2637 |
840 |
1797 |
46 |
| HQJ8-44 |
3011 |
920 |
2091 |
55 |
| HQJ8-50 |
3263 |
920 |
2343 |
58 |
|
|
HQJ12系列外形尺寸:
 |
| 泵型號 |
尺寸(mm) |
重量 (kg) |
| A |
B |
C |
| HQJ12-5 |
1005 |
470 |
535 |
21 |
| HQJ12-7 |
1175 |
510 |
665 |
26 |
| HQJ12-10 |
1480 |
620 |
860 |
30 |
| HQJ12-13 |
1805 |
750 |
1055 |
34 |
| HQJ12-15 |
2025 |
840 |
1185 |
38 |
| HQJ12-18 |
2220 |
840 |
1380 |
40 |
| HQJ12-21 |
2495 |
920 |
1575 |
47 |
| HQJ12-25 |
2755 |
920 |
1835 |
50 |
|
|
HQJ17系列外形尺寸:
 |
| 泵型號 |
尺寸(mm)(配4寸電機/配6寸電機) |
重量 (kg) |
| A |
B |
C |
D |
| HQJ17-1 |
708 |
380 |
328 |
96 |
17 |
| HQJ17-2 |
828 |
440 |
388 |
96 |
21 |
| HQJ17-3 |
959 |
510 |
449 |
96 |
28 |
| HQJ17-4 |
1019 |
510 |
509 |
96 |
29 |
| HQJ17-5 |
1190 |
620 |
570 |
96 |
32 |
| HQJ17-6 |
1380 |
750 |
630 |
96/143 |
35/41 |
| HQJ17-7 |
1441 |
750 |
691 |
96/143 |
36/42 |
| HQJ17-8 |
1591 |
840 |
751 |
96/143 |
41/49 |
| HQJ17-9 |
1652 |
840 |
812 |
96/143 |
42/50 |
| HQJ17-10 |
1712 |
840 |
872 |
96/143 |
43/51 |
| HQJ17-11 |
1853 |
920 |
933 |
96/143 |
49/60 |
| HQJ17-12 |
1913 |
920 |
993 |
96/143 |
50/61 |
| HQJ17-13 |
1974 |
920 |
1054 |
96/143 |
51/62 |
| HQJ17-14 |
2000 |
870 |
1130 |
143 |
75 |
| HQJ17-15 |
2061 |
870 |
1191 |
143 |
76 |
| HQJ17-16 |
2121 |
870 |
1251 |
143 |
77 |
| HQJ17-17 |
2182 |
870 |
1312 |
143 |
78 |
| HQJ17-18 |
2292 |
920 |
1372 |
143 |
85 |
| HQJ17-19 |
2353 |
920 |
1433 |
143 |
86 |
| HQJ17-20 |
2413 |
920 |
1493 |
143 |
87 |
| HQJ17-21 |
2534 |
980 |
1554 |
143 |
95 |
| HQJ17-22 |
2594 |
980 |
1614 |
143 |
96 |
| HQJ17-23 |
2655 |
980 |
1675 |
143 |
98 |
| HQJ17-24 |
2715 |
980 |
1735 |
143 |
99 |
| HQJ17-25 |
2826 |
1030 |
1796 |
143 |
106 |
| HQJ17-26 |
2886 |
1030 |
1856 |
143 |
107 |
|
|
HQJ30系列外形尺寸:
 |
| 泵型號 |
尺寸(mm)(配4寸電機/配6寸電機) |
重量 (kg) |
| A |
B |
C |
D |
| HQJ30-1 |
802 |
440 |
362 |
96 |
20 |
| HQJ30-2 |
968 |
510 |
458 |
96 |
28 |
| HQJ30-3 |
1174 |
620 |
554 |
96 |
31 |
| HQJ30-4 |
1400 |
750 |
650 |
96/143 |
35/41 |
| HQJ30-5 |
1586 |
840 |
746 |
96/143 |
40/48 |
| HQJ30-6 |
1682 |
840 |
842 |
96/143 |
42/50 |
| HQJ30-7 |
1858 |
920 |
938 |
96/143 |
49/60 |
| HQJ30-8 |
1954 |
920 |
1034 |
96/143 |
51/61 |
| HQJ30-9 |
2016 |
870 |
1146 |
143 |
75 |
| HQJ30-10 |
2112 |
870 |
1242 |
143 |
77 |
| HQJ30-11 |
2208 |
870 |
1338 |
143 |
79 |
| HQJ30-12 |
2354 |
920 |
1434 |
143 |
85 |
| HQJ30-13 |
2450 |
920 |
1530 |
143 |
87 |
| HQJ30-14 |
2606 |
980 |
1626 |
143 |
96 |
| HQJ30-15 |
2702 |
980 |
1722 |
143 |
98 |
| HQJ30-16 |
2848 |
1030 |
1818 |
143 |
106 |
| HQJ30-17 |
2944 |
1030 |
1914 |
143 |
108 |
| HQJ30-18 |
3100 |
1090 |
2010 |
143 |
117 |
| HQJ30-19 |
3196 |
1090 |
2106 |
143 |
119 |
| HQJ30-20 |
3292 |
1090 |
2202 |
143 |
120 |
| HQJ30-21 |
3388 |
1090 |
2298 |
143 |
122 |
| HQJ30-22 |
3554 |
1160 |
2394 |
143 |
138 |
| HQJ30-23 |
3650 |
1160 |
2490 |
143 |
140 |
| HQJ30-24 |
3746 |
1160 |
2586 |
143 |
142 |
| HQJ30-25 |
3842 |
1160 |
2682 |
143 |
144 |
|
|
HQJ42系列外形尺寸:
 |
| 泵型號A |
尺寸(mm)(配4寸電機/配6寸電機) |
重量 (kg) |
| A |
B |
C |
D |
| HQJ42-1 |
888 |
510 |
378 |
96 |
29 |
| HQJ42-2 |
1111 |
620 |
491 |
96 |
33 |
| HQJ42-3 |
1444 |
840 |
604 |
96/143 |
40/48 |
| HQJ42-4 |
1637 |
920 |
717 |
96/143 |
47/58 |
| HQJ42-5 |
1750 |
920 |
830 |
96/143 |
49/60 |
| HQJ42-6 |
1829 |
870 |
959 |
143 |
73 |
| HQJ42-7 |
1992 |
920 |
1072 |
143 |
80 |
| HQJ42-8 |
2165 |
980 |
1185 |
143 |
89 |
| HQJ42-9 |
2328 |
1030 |
1298 |
143 |
97 |
| HQJ42-10 |
2441 |
1030 |
1411 |
143 |
100 |
| HQJ42-11 |
2614 |
1090 |
1524 |
143 |
109 |
| HQJ42-12 |
2727 |
1090 |
1637 |
143 |
111 |
| HQJ42-13 |
2910 |
1160 |
1750 |
143 |
127 |
| HQJ42-14 |
3023 |
1160 |
1863 |
143 |
129 |
| HQJ42-15 |
HQJ3-6 |
1160 |
1976 |
143 |
131 |
| HQJ42-16 |
3319 |
1230 |
2089 |
143 |
145 |
| HQJ42-17 |
3432 |
1230 |
2202 |
143 |
147 |
| HQJ42-18 |
3645 |
1330 |
2315 |
143 |
162 |
| HQJ42-19 |
3758 |
1330 |
2428 |
143 |
164 |
| HQJ42-20 |
3871 |
1330 |
2541 |
143 |
167 |
| HQJ42-21 |
4224 |
1570 |
2654 |
143 |
192 |
| HQJ42-22 |
4337 |
1570 |
2767 |
143 |
194 |
|
|
HQJ60系列外形尺寸:
 |
| 泵型號 |
尺寸(mm)(配4寸電機/配6寸電機) |
重量 (kg) |
| A |
B |
C |
D |
| HQJ60-1 |
878 |
510 |
368 |
96 |
30 |
| HQJ60-2-2 |
1101 |
620 |
481 |
96 |
33 |
| HQJ60-2 |
1231 |
750 |
481 |
96/143 |
35/41 |
| HQJ60-3 |
1434 |
840 |
594 |
96/143 |
41/49 |
| HQJ60-4 |
1627 |
920 |
707 |
96/143 |
48/59 |
| HQJ60-5 |
1690 |
870 |
820 |
143 |
72 |
| HQJ60-6 |
1869 |
920 |
949 |
143 |
78 |
| HQJ60-7 |
2042 |
980 |
1062 |
143 |
87 |
| HQJ60-8-2 |
2155 |
980 |
1175 |
143 |
88 |
| HQJ60-8 |
2205 |
1030 |
1175 |
143 |
96 |
| HQJ60-9-2 |
2318 |
1030 |
1288 |
143 |
97 |
| HQJ60-9 |
2378 |
1090 |
1288 |
143 |
105 |
| HQJ60-10 |
2491 |
1090 |
1401 |
143 |
107 |
| HQJ60-11 |
2674 |
1160 |
1514 |
143 |
123 |
| HQJ60-12 |
2787 |
1160 |
1627 |
143 |
125 |
| HQJ60-13 |
2900 |
1160 |
1740 |
143 |
127 |
| HQJ60-14 |
3083 |
1230 |
1853 |
143 |
141 |
| HQJ60-15 |
3196 |
1230 |
1966 |
143 |
143 |
| HQJ60-16 |
3409 |
1330 |
2079 |
143 |
158 |
| HQJ60-17 |
3522 |
1330 |
2192 |
143 |
160 |
| HQJ60-18 |
3635 |
1330 |
2305 |
143 |
162 |
| HQJ60-19 |
3988 |
1570 |
2418 |
143 |
188 |
| HQJ60-20 |
4101 |
1570 |
2531 |
143 |
190 |
| HQJ60-21 |
4214 |
1570 |
2644 |
143 |
191 |
|
|
HQJ75系列外形尺寸:
 |
| 泵型號 |
尺寸(mm)(配6寸電機/配8寸電機) |
重量(kg) |
| A |
B |
C |
D |
| HQJ75-1 |
1268 |
780 |
488 |
143 |
56 |
| HQJ75-2 |
1424/1411 |
810/780 |
614/631 |
143/184 |
78/97 |
| HQJ75-3 |
1660/1577 |
920/820 |
740/757 |
143/184 |
92/116 |
| HQJ75-4 |
1896/1743 |
1030/860 |
866/883 |
143/184 |
110/134 |
| HQJ75-5 |
2082/1899 |
1090/890 |
992/1009 |
143/184 |
122/152 |
| HQJ75-6 |
2278/2075 |
1160/940 |
1118/1135 |
143/184 |
141/178 |
| HQJ75-7 |
2574/2311 |
1330/1050 |
1244/1261 |
143/184 |
171/211 |
| HQJ75-8 |
2700/2437 |
1330/1050 |
1370/1387 |
143/184 |
176/216 |
| HQJ75-9 |
3066/2663 |
1570/1150 |
1496/1513 |
143/184 |
204/233 |
| HQJ75-10 |
3192/2789 |
1570/1150 |
1622/1639 |
143/184 |
209/238 |
| HQJ75-11 |
3005 |
1240 |
1765 |
184 |
256 |
| HQJ75-12 |
3131 |
1240 |
1891 |
184 |
261 |
| HQJ75-13 |
3387 |
1370 |
2017 |
184 |
279 |
| HQJ75-14 |
3513 |
1370 |
2143 |
184 |
285 |
| HQJ75-15 |
3639 |
1370 |
2269 |
184 |
290 |
| HQJ75-16 |
3885 |
1490 |
2395 |
192 |
309 |
| HQJ75-17 |
4011 |
1490 |
2521 |
192 |
315 |
| HQJ75-18 |
4187 |
1540 |
2647 |
192 |
341 |
| HQJ75-19 |
4313 |
1540 |
2773 |
192 |
346 |
| HQJ75-20 |
4439 |
1540 |
2899 |
192 |
351 |
|
|
HQJ95系列外形尺寸:
 |
| 泵型號 |
尺寸(mm)(配6寸電機/配8寸電機) |
重量(kg) |
| A |
B |
C |
D |
| HQJ95-1 |
1268 |
780 |
488 |
143 |
57 |
| HQJ95-2 |
1484/1431 |
870/800 |
614/631 |
143/184 |
83/105 |
| HQJ95-3 |
1720/1617 |
980/860 |
740/757 |
143/184 |
100/129 |
| HQJ95-4 |
1956/1773 |
1090/890 |
866/883 |
143/184 |
119/148 |
| HQJ95-5 |
2152/1949 |
1160/940 |
992/1009 |
143/184 |
138/175 |
| HQJ95-6 |
2348/2125 |
1230/990 |
1118/1135 |
143/184 |
155/188 |
| HQJ95-7 |
2574/2311 |
1330/1050 |
1244/1261 |
143/184 |
174/213 |
| HQJ95-8 |
2940/2537 |
1570/1150 |
1370/1387 |
143/184 |
202/231 |
| HQJ95-9 |
3066/2663 |
1570/1150 |
1496/1513 |
143/184 |
208/237 |
| HQJ95-10 |
2879 |
1240 |
1639 |
184 |
254 |
| HQJ95-11 |
3005 |
1240 |
1765 |
184 |
260 |
| HQJ95-12 |
3261 |
1370 |
1891 |
184 |
279 |
| HQJ95-13 |
3387 |
1370 |
2017 |
184 |
284 |
| HQJ95-14 |
3513 |
1370 |
2143 |
184 |
290 |
| HQJ95-15 |
3759 |
1490 |
2269 |
192 |
310 |
| HQJ95-16 |
3885 |
1490 |
2395 |
192 |
316 |
| HQJ95-17 |
4061 |
1540 |
2521 |
192 |
342 |
| HQJ95-18 |
4187 |
1540 |
2647 |
192 |
348 |
|